„Surface Phone / Mobile“ App Seite „8828080“ wird schon vorbereitet

Das Jahr 2018 wird interessant, wenn es um das neue Gerät von Microsoft geht. Es geht in Richtung Smartphone mit Dual Display. Ob nun mit dem Namen Surface Phone, Surface Mobile oder Surface X sei einmal dahingestellt. WalkingCat hat im SourceCode wieder einmal herumgeschnüffelt und etwas interessantes entdeckt.

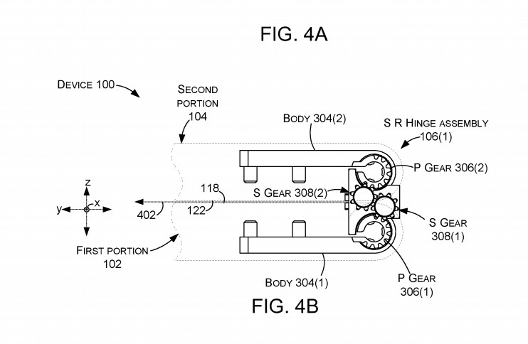
Im SourceCoede ist als App Hub die Nummer 8828080 enthalten. Diese führt direkt zum Microsoft Store und beinhaltet die App-Sammlungen, die für die mobile Version von Microsoft sind. Im neuen Patent von Microsoft wird genau gezeigt, wie das Scharnier des neuen Gerätes aufgebaut ist und funktioniert.

Eigentlich entspricht diese Entdeckung von WalkingCat nicht den bisherigen Gerüchten. Denn die besagten, dass wir ein Surface Mobile Gerät mit vollwertigem Windows 10 erhalten werden. Sollten aber nur mobile Apps ausführbar sein, würde diese Vermutung ins Leere laufen. Andererseits könnte man nun auch spekulieren, dass das neue Gerät so konzipiert ist, dass es mit den App-Versionen Desktop, Mobile und UWP umgehen kann. Dann hätten wir ein perfektes mobiles Gerät.

Quelle: @h0x0d, Patent: patentscope via: thewincentral, Startbild: mspu

„Surface Phone / Mobile“ App Seite „8828080“ wird schon vorbereitet
zurück zur Startseite

4 Kommentare zu “„Surface Phone / Mobile“ App Seite „8828080“ wird schon vorbereitet

Schreibe einen Kommentar

Deine E-Mail-Adresse wird nicht veröffentlicht. Erforderliche Felder sind mit * markiert

Hiermit akzeptiere ich die Datenschutzerklärung für diesen Kommentar.

Aktuelle News auf Deskmodder.de
alle News anzeigen
Deskmodder